La bomba contra incendios de turbina vertical de eje largo ZEN Machinery XBD de alta calidad se compone de varios impulsores centrífugos, carcasas de guía, tuberías de agua, ejes de transmisión, motores de base de bomba y otros componentes. La base de la bomba y el motor están ubicados sobre el depósito y la potencia del motor se transmite al eje del impulsor a través de un eje de transmisión concéntrico con la tubería de agua, generando así flujo y presión.
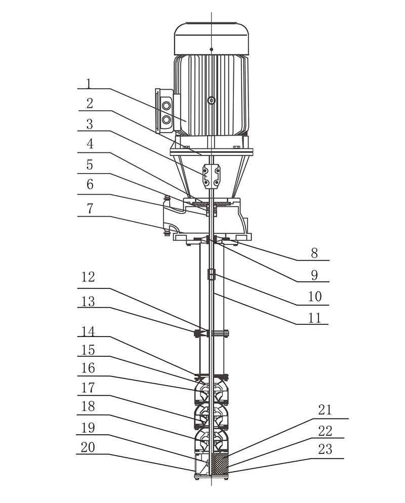
La bomba contra incendios de turbina vertical de eje largo ZEN XBD de alta calidad con eje largo consta de tres partes: la parte de trabajo, la parte de plomería y la parte de superficie.
1. Parte de trabajo
Esta parte consta de los componentes de trabajo y las piezas del filtro de agua. Los componentes de trabajo constan de una carcasa guía, un impulsor, un casquillo cónico, un cojinete deslizante, un eje del impulsor y otras piezas. El impulsor es una estructura cerrada. Las carcasas están conectadas mediante pernos. Se pueden instalar anillos de compensación en la carcasa guía y en el impulsor.
2. Parte de fontanería
Esta parte consta de tuberías de agua, ejes de transmisión, acoplamientos y soportes. La tubería de agua está conectada mediante una brida y el eje de transmisión está hecho de acero 2Cr13 o acero inoxidable.
3. Parte de superficie
Consta de componentes de la base de la bomba, motor, soporte del motor, acoplamiento y otros componentes.
La bomba contra incendios de turbina vertical XBD con eje largo se utiliza principalmente para combatir incendios utilizando bocas de incendio, extinción de incendios por rociadores automáticos y otros sistemas de extinción de incendios en empresas industriales y mineras, construcciones de ingeniería, edificios de gran altura, así como en el suministro y drenaje de agua municipal, etc.
1. Como regla general, agua limpia y no agresiva.
2. El contenido de sólidos en agua (en peso) no supera el 0,01%.
3. Valor de pH en el rango de 6,5 a 8,5.
4. Contenido de sulfuro de hidrógeno no superior a 1,5 mg/l.
5. La temperatura del agua no debe exceder los 40°C.
CAUDAL: 5–110 (l/s)
ALTURA: 32–200 (m)
POTENCIA: 3–200 (kW)
VELOCIDAD DE FUNCIONAMIENTO: 3000 RPM
La bomba contra incendios de turbina consta de tres partes: la parte de trabajo, la parte de suministro de agua y la parte de superficie.
1.Parte de trabajo
Esta parte consta de piezas de trabajo y piezas de filtro de agua. Las piezas de trabajo constan de una carcasa guía, un impulsor, un casquillo cónico, un cojinete liso, un eje del impulsor y otras piezas. El impulsor es una estructura cerrada. Las carcasas están conectadas con pernos. Se pueden instalar anillos de compensación en la carcasa de la guía y en el impulsor.
2. Parte de fontanería
Esta parte consta de tuberías de agua, ejes de transmisión, acoplamientos y piezas de soporte.
La sección de suministro de agua está conectada mediante una brida y el material del eje de transmisión es 2Cr13 o acero inoxidable.
3. Parte de superficie
Esta pieza consta de los componentes de la base de la bomba, el motor, el soporte del motor, el acoplamiento y otras piezas.
1. Como regla general, agua limpia y no agresiva.
2. Contenido de sólidos en agua (en masa): no más del 0,01%.
3. Valor de PH: entre 6,5 y 8,5.
4. Contenido de sulfuro de hidrógeno: no más de 1,5 mg/l.
5. La temperatura del agua no debe exceder los 40°C.
|
№ |
ELEMENTO | Material |
| 1 | Motor | ASAMBLEA |
| 2 | soporte del motor | QT400-18 |
| 3 | enganche | ZG235-150 |
| 4 | Tapa del sello | QT100-18 |
| 5 | Sello mecánico | CARBONO-SIC-NBR |
| 6 | Porta sellos | ZG235-450 |
| 7 | Tubo de salida | QT400-18 |
| 8 | Tubo de salida | QT400-18 |
| 9 | Eje de soporte | COTTO NIRON |
| 10 | enganche | ZG235-150 |
| 11 | Eje | 20CR13 |
| 12 | Rodamiento de soporte | COTTO NIRON |
| 13 | Soporte | QT100-18 |
| 14 | cuenco superior | QT100-18 |
| 15 | Пcopa de rodamiento | GOMA |
| 16 | Taza | 20CR13 |
| 17 | Impulso |
06CR19N110 |
| 18 | cuenco medio | QT400-18 |
| 19 | Cojinete | GOMA |
| 20 | Campana de succión | QT100-18 |
| 21 | Filtrar | O6CR19NI10 |
| 22 | disco de empuje | 20CR13 |
| 23 | Placa de empuje delantera | MEZCLA DE TEFLON |
| Número | Tipo | Caudal nominal (L/T) |
Esfuerzo (metro) |
Fuerza (kW) |
Velocidad (r/min) |
Calibre (mm) |
Presión máxima de trabajo (≤Mpa) |
150% de la presión de flujo nominal (≥Mpa) |
| 1 | XBD4.0/1WJ-SEAD | 1 | 40 | 3 | 3000 | 50 | 0.560 | 0.260 |
| 2 | XBD5.0/1WJ-SEAD | 1 | 50 | 4 | 3000 | 50 | 0.700 | 0.325 |
| 3 | XBD6.0/1WJ-SEAD | 1 | 60 | 4 | 3000 | 50 | 0.840 | 0.390 |
| 4 | XBD7.0/1WJ-SEAD | 1 | 70 | 5.5 | 3000 | 50 | 0.980 | 0.455 |
| 5 | XBD8.0/1WJ-SEAD | 1 | 80 | 7.5 | 3000 | 50 | 1.120 | 0.520 |
| 6 | XBD9.0/1WJ-SEAD | 1 | 90 | 7.5 | 3000 | 50 | 1.260 | 0.585 |
| 7 | DISPOSITIVO XBD10.0/1WJ | 1 | 100 | 11 | 3000 | 50 | 1.400 | 0.650 |
| 8 | DISPOSITIVO XBD11.0/1WJ | 1 | 110 | 11 | 3000 | 50 | 1.540 | 0.715 |
| 9 | XBD12.0/1WJ-SEAD | 1 | 120 | 11 | 3000 | 50 | 1.680 | 0.780 |
| 10 | XBD13.0/1WJ-SEAD | 1 | 130 | 11 | 3000 | 50 | 1.820 | 0.815 |
| 11 | DISPOSITIVO XBD14.0/1WJ | 1 | 140 | 15 | 3000 | 50 | 1.960 | 0.910 |
| 12 | XBD15.0/1WJ-SEAD | 1 | 150 | 15 | 3000 | 50 | 2.100 | 0.975 |
| 13 | XBD16.0/1WJ-SEAD | 1 | 160 | 15 | 3000 | 50 | 2.240 | 1.040 |
| 14 | XBD16.8.0/1WJ-SEAD | 1 | 168 | 3 | 3000 | 50 | 2.352 | 1.092 |
| 15 | XBD4.0/3WJ-SEAD | 3 | 40 | 4 | 3000 | 50 | 0.560 | 0.260 |
| 16 | XBD5.0/3WJ-SEAD | 3 | 50 | 5.5 | 3000 | 50 | 0.700 | 0.325 |
| 17 | DISPOSITIVO XBD6.0/3WJ | 3 | 60 | 7.5 | 3000 | 50 | 0.840 | 0.390 |
| 18 | XBD7.0/3WJ-SEAD | 3 | 70 | 7.5 | 3000 | 50 | 0.980 | 0.455 |
| 19 | XBD8.0/3WJ-SEAD | 3 | 80 | 7.5 | 3000 | 50 | 1.120 | 0.520 |
| 20 | XBD9.0/3WJ-SEAD | 3 | 90 | 7.5 | 3000 | 50 | 1.260 | 0.585 |
| 21 | XBD10.0/3WJ-SEAD | 3 | 100 | 11 | 3000 | 50 | 1.400 | 0.650 |
| 22 | XBD11.0/3WJ-SEAD | 3 | 110 | 11 | 3000 | 50 | 1.540 | 0.715 |
| 23 | XBD12.0/3WJ-SEAD | 3 | 120 | 11 | 3000 | 50 | 1.680 | 0.780 |
| 24 | XBD13.0/3WJ-SEAD | 3 | 130 | 11 | 3000 | 50 | 1.820 | 0.815 |
| 25 | XBD14.0/3WJ-SEAD | 3 | 140 | 15 | 3000 | 50 | 1.960 | 0.90 |
| 26 | XBD15.0/3WJ-SEAD | 3 | 150 | 15 | 3000 | 50 | 2.100 | 0.975 |
| 27 | XBD16.0/3WJ-SEAD | 3 | 160 | 15 | 3000 | 50 | 2.240 | 1.040 |
| 28 | XBD16.8/3WJ-SEAD | 3 | 168 | 15 | 3000 | 50 | 2.352 | 1.092 |
| 29 | XBD4.0/5WJ-SEAD | 5 | 40 | 4 | 3000 | 50 | 0.560 | 0.260 |
| 30 | XBD5.0/5WJ-SEAD | 5 | 50 | 5.5 | 3000 | 50 | 0.700 | 0.325 |
| 31 | XBD6.0/5WJ-SEAD | 5 | 60 | 7.5 | 3000 | 50 | 0.840 | 0.390 |
| 32 | XBD7.0/5WJ-SEAD | 5 | 70 | 7.5 | 3000 | 50 | 0.980 | 0.455 |
| 33 | DISPOSITIVO XBD8.0/5WJ | 5 | 80 | 11 | 3000 | 50 | 1.120 | 0.520 |
| 34 | DISPOSITIVO XBD9.0/5WJ | 5 | 90 | 11 | 3000 | 50 | 1.260 | 0.585 |
| 35 | DISPOSITIVO XBD10.0/5WJ | 5 | 100 | 11 | 3000 | 50 | 1.400 | 0.650 |
| 36 | DISPOSITIVO XBD11.0/5WJ | 5 | 110 | 15 | 3000 | 50 | 1.540 | 0.780 |
| 37 | XBD12.0/5WJ-SEAD | 5 | 120 | 15 | 3000 | 50 | 1.680 | 0.845 |
| Número | Tipo | Caudal nominal (L/T) |
Esfuerzo (metro) |
Fuerza (kW) |
Velocidad (r/min) |
Calibre (mm) |
Presión máxima de trabajo (≤Mpa) |
150% de la presión de flujo nominal (≥Mpa) |
| 38 | XBD13.0/5WJ-SEAD | 5 | 130 | 15 | 3000 | 50 | 1.820 | 0.845 |
| 39 | XBD14.0/5WJ-SEAD | 5 | 140 | 15 | 3000 | 50 | 1.960 | 0.910 |
| 40 | XBD15.0/5WJ-SEAD | 5 | 150 | 18.5 | 3000 | 50 | 2.100 | 0.975 |
| 41 | XBD16.0/5WJ-SEAD | 5 | 160 | 18.5 | 3000 | 50 | 2.240 | 1.040 |
| 42 | XBD16.8/5WJ-SEAD | 5 | 168 | 30 | 3000 | 50 | 2.352 | 1.092 |
| 43 | XBD3.3/5GJ-SEAD | 5 | 33 | 3 | 3000 | 50 | 0.462 | 0.215 |
| 44 | DISPOSITIVO XBD4.0/5GJ | 5 | 40 | 4 | 3000 | 50 | 0.560 | 0.260 |
| 45 | DISPOSITIVO XBD6.0/5GJ | 5 | 60 | 5.5 | 3000 | 50 | 0.840 | 0.390 |
| 46 | DISPOSITIVO XBD8.0/5GJ | 5 | 80 | 7.5 | 3000 | 50 | 1.120 | 0.520 |
| 47 | XBD10.0/5GJ-SEAD | 5 | 100 | 11 | 3000 | 50 | 1.400 | 0.650 |
| 48 | DISPOSITIVO XBD12.0/5GJ | 5 | 120 | 15 | 3000 | 50 | 1.680 | 0.780 |
| 49 | XBD14.0/5GJ-SEAD | 5 | 140 | 15 | 3000 | 50 | 1.960 | 0.910 |
| 50 | DISPOSITIVO XBD16.3/5GJ | 5 | 163 | 18.5 | 3000 | 50 | 2.282 | 1.060 |
| 51 | XBD3.2/10GJ-SEAD | 10 | 32 | 5.5 | 3000 | 80 | 0.448 | 0.208 |
| 52 | XBD4.2/10GJ-SEAD | 10 | 42 | 7.5 | 3000 | 80 | 0.588 | 0.273 |
| 53 | XBD5.0/10GJ-SEAD | 10 | 50 | 11 | 3000 | 80 | 0.700 | 0.325 |
| 54 | XBD6.0/10GJ-SEAD | 10 | 60 | 15 | 3000 | 80 | 0.840 | 0.390 |
| 55 | XBD8.4/10GJ-SEAD | 10 | 84 | 15 | 3000 | 80 | 1.176 | 0.546 |
| 56 | XBD9.6/10GJ-SEAD | 10 | 96 | 18.5 | 3000 | 80 | 1.344 | 0.624 |
| 57 | DISPOSITIVO XBD10.0/10GJ | 10 | 100 | 18.5 | 3000 | 80 | 1.400 | 0.650 |
| 58 | XBD11.0/10GJ-SEAD | 10 | 110 | 18.5 | 3000 | 80 | 1.540 | 0.715 |
| 59 | XBD12.0/10GJ-SEAD | 10 | 120 | 22 | 3000 | 80 | 1.680 | 0.780 |
| 60 | XBD13.0/10GJ-SEAD | 10 | 130 | 22 | 3000 | 80 | 1.820 | 0.845 |
| 61 | XBD14.4/10GJ-SEAD | 10 | 144 | 30 | 3000 | 80 | 2.016 | 0.936 |
| 62 | XBD15.6/10GJ-SEAD | 10 | 156 | 30 | 3000 | 80 | 2.184 | 1.014 |
| 63 | XBD17.0/10GJ-SEAD | 10 | 170 | 37 | 3000 | 80 | 2.380 | 1.105 |
| 64 | XBD18.0/10GJ-SEAD | 10 | 180 | 37 | 3000 | 80 | 2.520 | 1.170 |
| 65 | XBD3.6/15GJ-SEAD | 15 | 36 | 11 | 3000 | 80 | 0.501 | 0.231 |
| 66 | XBD4.0/15GJ-SEAD | 15 | 40 | 11 | 3000 | 80 | 0.560 | 0.260 |
| 67 | XBD5.0/15GJ-SEAD | 15 | 50 | 15 | 3000 | 80 | 0.700 | 0.325 |
| 68 | XBD6.0/15GJ-SEAD | 15 | 60 | 15 | 3000 | 80 | 0.840 | 0.390 |
| 69 | XBD7.2/15GJ-SEAD | 15 | 72 | 18.5 | 3000 | 80 | 1.008 | 0.325 |
| 70 | XBD8.4/15GJ-SEAD | 15 | 84 | 22 | 3000 | 80 | 1.176 | 0.468 |
| 71 | XBD9.6/15GJ-SEAD | 15 | 96 | 22 | 3000 | 80 | 1.344 | 0.546 |
| 72 | XBD10.0/15GJ-SEAD | 15 | 100 | 22 | 3000 | 80 | 1.400 | 0.624 |
| 73 | XBD11.0/15GJ-SEAD | 15 | 110 | 30 | 3000 | 80 | 1540 | 0.650 |
| 74 | XBD12.0/15GJ-SEAD | 15 | 120 | 30 | 3000 | 80 | 1680 | 0.715 |
| Número | Tipo | Caudal nominal (L/T) |
Esfuerzo (metro) |
Fuerza (kW) |
Velocidad (r/min) |
Calibre (mm) |
Presión máxima de trabajo (≤Mpa) |
150% de la presión de flujo nominal (≥Mpa) |
| 75 | XBD13.0/15GJ-SEAD | 15 | 130 | 37 | 3000 | 80 | 1.820 | 0.845 |
| 76 | XBD14.0/15GJ-SEAD | 15 | 140 | 37 | 3000 | 80 | 1.960 | 0.910 |
| 77 | XBD15.6/15GJ-SEAD | 15 | 156 | 37 | 3000 | 80 | 2.184 | 1.014 |
| 78 | XBD17.0/15GJ-SEAD | 15 | 170 | 45 | 3000 | 80 | 2.380 | 1.105 |
| 79 | XBD18.2./15GJ-SEAD | 15 | 182 | 45 | 3000 | 80 | 2.518 | 1.183 |
| 80 | DISPOSITIVO XBD20.0/15GJ | 15 | 200 | 55 | 3000 | 80 | 2.800 | 1.300 |
| 81 | XBD3.3/20GJ-SEAD | 20 | 33 | 11 | 3000 | 100 | 0.462 | 0.215 |
| 82 | DISPOSITIVO XBD4.0/20GJ | 20 | 40 | 15 | 3000 | 100 | 0.580 | 0.260 |
| 83 | XBD4.4/20GJ-SEAD | 20 | 44 | 15 | 3000 | 100 | 0.616 | 0.286 |
| 84 | DISPOSITIVO XBD5.0/20GJ | 20 | 50 | 18.5 | 3000 | 100 | 0.700 | 0.325 |
| 85 | XBD5.5/20GJ-SEAD | 20 | 55 | 18.5 | 3000 | 100 | 0.770 | 0.358 |
| 86 | XBD6.0/20GJ-SEAD | 20 | 50 | 22 | 3000 | 100 | 0.700 | 0.325 |
| 87 | DISPOSITIVO XBD6.6/20GJ | 20 | 66 | 22 | 3000 | 100 | 0.924 | 0.429 |
| 88 | XBD7.0/20GJ-SEAD | 20 | 70 | 30 | 3000 | 100 | 0.980 | 0.455 |
| 89 | DISPOSITIVO XBD8.0/20GJ | 20 | 80 | 30 | 3000 | 100 | 1.120 | 0.520 |
| 90 | XBD9.0/20GJ-SEAD | 20 | 90 | 30 | 3000 | 100 | 1.260 | 0.585 |
| 91 | XBD10.0/20GJ-SEAD | 20 | 100 | 37 | 3000 | 100 | 1.400 | 0.650 |
| 92 | DISPOSITIVO XBD11.0/20GJ | 20 | 110 | 37 | 3000 | 100 | 1.540 | 0.75 |
| 93 | DISPOSITIVO XBD12.1/20GJ | 20 | 121 | 45 | 3000 | 100 | 1.694 | 0.787 |
| 94 | XBD14.0/20GJ-SEAD | 20 | 140 | 45 | 3000 | 100 | 1.960 | 0.910 |
| 95 | XBD16.0/20GJ-SEAD | 20 | 160 | 55 | 3000 | 100 | 2.240 | 1.040 |
| 96 | DISPOSITIVO XBD18.0/20GJ | 20 | 180 | 55 | 3000 | 100 | 2.520 | 1.170 |
| 97 | DISPOSITIVO XBD20.0/20GJ | 20 | 200 | 75 | 3000 | 100 | 2.800 | 1.300 |
| 98 | XBD3.2/25GJ-SEAD | 25 | 32 | 11 | 3000 | 100 | 0.448 | 0.208 |
| 99 | DISPOSITIVO XBD4.2/25GJ | 25 | 42 | 15 | 3000 | 100 | 0.588 | 0.273 |
| 100 | XBD5.3/25GJ-SEAD | 25 | 53 | 18.5 | 3000 | 100 | 0.742 | 0.345 |
| 101 | XBD6.3/25GJ-SEAD | 25 | 63 | 22 | 3000 | 100 | 0.882 | 0.410 |
| 102 | XBD7.3/25GJ-SEAD | 25 | 73 | 30 | 3000 | 100 | 1.022 | 0.475 |
| 103 | XBD8.4/25GJ-SEAD | 25 | 84 | 37 | 3000 | 100 | 1.176 | 0.546 |
| 104 | XBD9.0/25GJ-SEAD | 25 | 90 | 37 | 3000 | 100 | 1.260 | 0.585 |
| 105 | XBD10.0/25GJ-SEAD | 25 | 100 | 37 | 3000 | 100 | 1.400 | 0.950 |
| 106 | XBD11.0/25GJ-SEAD | 25 | 110 | 45 | 3000 | 100 | 1.540 | 0.715 |
| 107 | XBD12.0/25GJ-SEAD | 25 | 120 | 45 | 3000 | 100 | 1.680 | 0.780 |
| 108 | DISPOSITIVO XBD14.0/25GJ | 25 | 140 | 55 | 3000 | 100 | 1.960 | 0.910 |
| 109 | SELLO XBD16.0/25GJ | 25 | 160 | 75 | 3000 | 100 | 2.240 | 1.040 |
| 110 | XBD18.5/25GJ-SEAD | 25 | 185 | 75 | 3000 | 100 | 2.590 | 1.203 |
| 111 | XBD3.6/30GJ-SEAD | 30 | 36 | 15 | 3000 | 100 | 0.504 | 0.234 |
| Número | Tipo | Caudal nominal (L/T) |
Esfuerzo (metro) |
Fuerza (kW) |
Velocidad (r/min) |
Calibre (mm) |
Presión máxima de trabajo (≤Mpa) |
150% de la presión de flujo nominal (≥Mpa) |
| 112 | DISPOSITIVO XBD4.2/30GJ | 30 | 40 | 18.5 | 3000 | 100 | 0.560 | 0.260 |
| 113 | DISPOSITIVO XBD5.0/30GJ | 30 | 50 | 22 | 3000 | 100 | 0.700 | 0.325 |
| 114 | DISPOSITIVO XBD6.0/30GJ | 30 | 60 | 30 | 3000 | 100 | 0.840 | 0.390 |
| 115 | XBD7.2/30GJ-CHAAD | 30 | 72 | 30 | 3000 | 100 | 1.008 | 0.468 |
| 116 | DISPOSITIVO XBD8.0/30GJ | 30 | 80 | 37 | 3000 | 100 | 1.120 | 0.520 |
| 117 | XBD9.0/30GJ-SEAD | 30 | 90 | 45 | 3000 | 100 | 1.260 | 0.585 |
| 118 | DISPOSITIVO XBD10.0/30GJ | 30 | 100 | 45 | 3000 | 100 | 1.400 | 0.650 |
| 119 | DISPOSITIVO XBD11.0/30GJ | 30 | 110 | 45 | 3000 | 100 | 1.540 | 0.715 |
| 120 | XBD13.0/30GJ-SEAD | 30 | 130 | 55 | 3000 | 100 | 1.820 | 0.845 |
| 121 | XBD14.5/30GJ-SEAD | 30 | 145 | 75 | 3000 | 100 | 2.030 | 0.943 |
| 122 | XBD16.2/30GJ-SEAD | 30 | 162 | 75 | 3000 | 100 | 2.268 | 1.053 |
| 123 | XBD18.0/30GJ-SEAD | 30 | 180 | 90 | 3000 | 100 | 2.520 | 1.170 |
| 124 | XBD20.0/30GJ-SEAD | 30 | 200 | 90 | 3000 | 100 | 2.800 | 1.300 |
| 125 | XBD3.2/35GJ-SEAD | 35 | 32 | 18.5 | 3000 | 100 | 0.448 | 0.208 |
| 126 | DISPOSITIVO XBD4.0/35GJ | 35 | 40 | 22 | 3000 | 100 | 0.560 | 0.260 |
| 127 | XBD5.0/35GJ-SEAD | 35 | 50 | 30 | 3000 | 100 | 0.700 | 0.325 |
| 128 | XBD6.0/35GJ-SEAD | 35 | 60 | 30 | 3000 | 100 | 0.840 | 0.390 |
| 129 | XBD6.5/35GJ-SEAD | 35 | 65 | 37 | 3000 | 100 | 0.910 | 0.423 |
| 130 | XBD7.0/35GJ-SEAD | 35 | 70 | 37 | 3000 | 100 | 0.980 | 0.455 |
| 131 | DISPOSITIVO XBD8.0/35GJ | 35 | 80 | 45 | 3000 | 100 | 1.120 | 0.520 |
| 132 | XBD9.0/35GJ-SEAD | 35 | 90 | 55 | 3000 | 100 | 1.260 | 0.585 |
| 133 | DISPOSITIVO XBD10.0/35GJ | 35 | 100 | 55 | 3000 | 100 | 1.400 | 0.650 |
| 134 | XBD11.2/35GJ-SEAD | 35 | 112 | 75 | 3000 | 100 | 1.568 | 0.728 |
| 135 | XBD13.0/35GJ-SEAD | 35 | 130 | 75 | 3000 | 100 | 1.820 | 0.845 |
| 136 | XBD15.0/35GJ-SEAD | 35 | 150 | 90 | 3000 | 100 | 2.100 | 0.975 |
| 137 | XBD16.0/35GJ-SEAD | 35 | 160 | 90 | 3000 | 100 | 2.240 | 1.040 |
| 138 | XBD18.0/35GJ-SEAD | 35 | 180 | 110 | 3000 | 100 | 2.520 | 1.170 |
| 139 | DISPOSITIVO XBD19.2/35GJ | 35 | 192 | 110 | 3000 | 100 | 2.688 | 1.248 |
| 140 | XBD20.0/35GJ-SEAD | 35 | 200 | 132 | 3000 | 100 | 2.800 | 1.300 |
| 141 | XBD3.2/40GJ-SEAD | 40 | 32 | 22 | 3000 | 150 | 0.448 | 0.208 |
| 142 | XBD4.0/40GJ-SEAD | 40 | 40 | 30 | 3000 | 150 | 0.560 | 0.260 |
| 143 | XBD4.8/40GJ-SEAD | 40 | 48 | 30 | 3000 | 150 | 0.672 | 0.312 |
| 144 | DISPOSITIVO XBD5.0/40GJ | 40 | 50 | 37 | 3000 | 150 | 0.700 | 0.325 |
| 145 | XBD6.0/40GJ-SEAD | 40 | 60 | 45 | 3000 | 150 | 0.840 | 0.390 |
| 146 | XBD7.0/40GJ-SEAD | 40 | 70 | 45 | 3000 | 150 | 0.980 | 0.455 |
| 147 | XBD8.0/40GJ-SEAD | 40 | 80 | 55 | 3000 | 150 | 1.120 | 0.520 |
| 148 | DISPOSITIVO XBD9.0/40GJ | 40 | 90 | 55 | 3000 | 150 | 1.260 | 0.585 |
| Número | Tipo | Caudal nominal (L/T) |
Esfuerzo (metro) |
Fuerza (kW) |
Velocidad (r/min) |
Calibre (mm) |
Presión máxima de trabajo (≤Mpa) |
150% de la presión de flujo nominal (≥Mpa) |
| 149 | XBD10.0/40GJ-SEAD | 40 | 100 | 55 | 3000 | 150 | 1.400 | 0.650 |
| 150 | XBD11.0/40GJ-SEAD | 40 | 110 | 75 | 3000 | 150 | 1.540 | 0.715 |
| 151 | DISPOSITIVO XBD12.0/40GJ | 40 | 120 | 75 | 3000 | 150 | 1680 | 0.780 |
| 152 | DISPOSITIVO XBD14.0/40GJ | 40 | 140 | 90 | 3000 | 150 | 1960 | 0.910 |
| 153 | XBD15.0/40GJ-SEAD | 40 | 150 | 90 | 3000 | 150 | 2100 | 0.975 |
| 154 | XBD16.5/40GJ-SEAD | 40 | 165 | 110 | 3000 | 150 | 2310 | 1.073 |
| 155 | DISPOSITIVO XBD18.5/40GJ | 40 | 180 | 110 | 3000 | 150 | 2520 | 1.170 |
| 156 | DISPOSITIVO XBD20.0/40GJ | 40 | 200 | 132 | 3000 | 150 | 2800 | 1.300 |
| 157 | SEAD XBD3.0/45GJ | 45 | 30 | 22 | 3000 | 150 | 0.420 | 0.195 |
| 158 | DISPOSITIVO XBD4.0/45GJ | 45 | 40 | 30 | 3000 | 150 | 0.560 | 0.260 |
| 159 | XBD5.0/45GJ-SEAD | 45 | 50 | 37 | 3000 | 150 | 0.700 | 0.325 |
| 160 | XBD6.0/45GJ-SEAD | 45 | 60 | 45 | 3000 | 150 | 0.810 | 0.390 |
| 161 | DISPOSITIVO XBD7.0/45GJ | 45 | 70 | 55 | 3000 | 150 | 0.980 | 0.455 |
| 162 | DISPOSITIVO XBD8.0/45GJ | 45 | 80 | 55 | 3000 | 150 | 1.120 | 0.520 |
| 163 | XBD9.0/45GJ-SEAD | 45 | 90 | 75 | 3000 | 150 | 1.260 | 0.585 |
| 164 | XBD10.0/45GJ-SEAD | 45 | 100 | 75 | 3000 | 150 | 1.400 | 0.650 |
| 165 | XBD3.2/50GJ-SEAD | 50 | 32 | 22 | 3000 | 150 | 0.448 | 0.208 |
| 166 | XBD4.0/50GJ-SEAD | 50 | 40 | 30 | 3000 | 150 | 0.560 | 0.260 |
| 167 | XBD4.5/50GJ-SEAD | 50 | 45 | 37 | 3000 | 150 | 0.630 | 0.293 |
| 168 | XBD5.0/50GJ-SEAD | 50 | 50 | 37 | 3000 | 150 | 0.700 | 0.325 |
| 169 | XBD6.0/50GJ-SEAD | 50 | 60 | 45 | 3000 | 150 | 0.840 | 0.390 |
| 170 | XBD7.0/50GJ-CHAAD | 50 | 70 | 55 | 3000 | 150 | 0.980 | 0.455 |
| 171 | XBD8.0/50GJ-SEAD | 50 | 80 | 55 | 3000 | 150 | 1.120 | 0.520 |
| 172 | XBD9.0/50GJ-SEAD | 50 | 90 | 75 | 3000 | 150 | 1.260 | 0.585 |
| 173 | DISPOSITIVO XBD10.5/50GJ | 50 | 105 | 75 | 3000 | 150 | 1.470 | 0.683 |
| 174 | XBD12.0/50GJ-SEAD | 50 | 120 | 90 | 3000 | 150 | 1.680 | 0.780 |
| 175 | DISPOSITIVO XBD14.0/50GJ | 50 | 140 | 110 | 3000 | 150 | 1.960 | 0.910 |
| 176 | XBD15.0/50GJ-SEAD | 50 | 150 | 132 | 3000 | 150 | 2.100 | 0.975 |
| 177 | XBD17.0/50GJ-SEAD | 50 | 170 | 160 | 3000 | 150 | 2.380 | 1.105 |
| 178 | XBD18.0/50GJ-SEAD | 50 | 180 | 160 | 3000 | 150 | 2.520 | 1.170 |
| 179 | XBD20.0/50GJ-SEAD | 50 | 200 | 200 | 3000 | 150 | 2.800 | 1.300 |
| 180 | XBD4.0/55GJ-SEAD | 55 | 40 | 37 | 3000 | 150 | 0.560 | 0.260 |
| 181 | XBD5.0/55GJ-SEAD | 55 | 50 | 45 | 3000 | 150 | 0.700 | 0.325 |
| 182 | XBD6.0/55GJ-SEAD | 55 | 60 | 55 | 3000 | 150 | 0.840 | 0.390 |
| 183 | XBD7.0/55GJ-SEAD | 55 | 70 | 55 | 3000 | 150 | 0.980 | 0.455 |
| 184 | XBD8.0/55GJ-SEAD | 55 | 80 | 75 | 3000 | 150 | 1.120 | 0.520 |
| 185 | XBD10.0/55GJ-SEAD | 55 | 100 | 90 | 3000 | 150 | 1.400 | 0.650 |
| Número | Tipo | Caudal nominal (L/T) |
Esfuerzo (metro) |
Fuerza (kW) |
Velocidad (r/min) |
Calibre (mm) |
Presión máxima de trabajo (≤Mpa) |
150% de la presión de flujo nominal (≥Mpa) |
| 186 | DISPOSITIVO XBD4.0/60GJ | 60 | 40 | 37 | 3000 | 150 | 0.560 | 0.260 |
| 187 | XBD5.0/60GJ-SEAD | 60 | 50 | 45 | 3000 | 150 | 0.700 | 0.325 |
| 188 | DISPOSITIVO XBD6.0/60GJ | 60 | 60 | 55 | 3000 | 150 | 0.840 | 0.390 |
| 189 | XBD7.0/60GJ-SEAD | 60 | 70 | 75 | 3000 | 150 | 0.980 | 0.455 |
| 190 | DISPOSITIVO XBD8.0/60GJ | 60 | 80 | 75 | 3000 | 150 | 1.120 | 0.520 |
| 191 | XBD9.0/60GJ-SEAD | 60 | 90 | 90 | 3000 | 150 | 1.260 | 0.585 |
| 192 | DISPOSITIVO XBD10.0/60GJ | 60 | 100 | 90 | 3000 | 150 | 1.400 | 0.650 |
| 193 | XBD12.0/60GJ-SEAD | 60 | 120 | 110 | 3000 | 150 | 1.680 | 0.780 |
| 194 | DISPOSITIVO XBD14.0/60GJ | 60 | 140 | 131 | 3000 | 150 | 1.960 | 0.910 |
| 195 | DISPOSITIVO XBD16.0/60GJ | 60 | 160 | 160 | 3000 | 150 | 2.240 | 1.040 |
| 196 | DISPOSITIVO XBD18.0/60GJ | 60 | 180 | 160 | 3000 | 150 | 2.520 | 1.170 |
| 197 | DISPOSITIVO XBD20.0/60GJ | 60 | 200 | 200 | 3000 | 150 | 2.800 | 1.300 |
| 198 | XBD3.0/70GJ-SEAD | 70 | 30 | 37 | 3000 | 150 | 0.420 | 0.195 |
| 199 | XBD4.0/70GJ-SEAD | 70 | 40 | 45 | 3000 | 150 | 0.560 | 0.260 |
| 200 | XBD5.0/70GJ-SEAD | 70 | 50 | 55 | 3000 | 150 | 0.700 | 0.325 |
| 201 | DISPOSITIVO XBD6.0/70GJ | 70 | 60 | 75 | 3000 | 150 | 0.840 | 0.390 |
| 202 | XBD7.2/70GJ-SEAD | 70 | 72 | 90 | 3000 | 150 | 1.008 | 0.468 |
| 203 | DISPOSITIVO XBD8.2/70GJ | 70 | 82 | 110 | 3000 | 150 | 1.148 | 0.533 |
| 204 | DISPOSITIVO XBD9.0/70GJ | 70 | 90 | 110 | 3000 | 150 | 1.260 | 0.585 |
| 205 | XBD10.0/70GJ-SEAD | 70 | 100 | 132 | 3000 | 150 | 1.400 | 0.650 |
| 206 | XBD13.0/70GJ-SEAD | 70 | 130 | 160 | 3000 | 150 | 1.820 | 0.845 |
| 207 | XBD15.0/70GJ-SEAD | 70 | 150 | 200 | 3000 | 150 | 2.100 | 0.975 |
| 208 | XBD3.0/80GJ-SEAD | 80 | 30 | 37 | 3000 | 150 | 0.420 | 0.195 |
| 209 | XBD4.0/80GJ-SEAD | 80 | 40 | 45 | 3000 | 150 | 0.560 | 0.260 |
| 210 | XBD5.0/80GJ-SEAD | 80 | 50 | 55 | 3000 | 150 | 0.700 | 0.325 |
| 211 | DISPOSITIVO XBD6.0/80GJ | 80 | 60 | 75 | 3000 | 150 | 0.840 | 0.390 |
| 212 | XBD7.2/80GJ-SEAD | 80 | 72 | 90 | 3000 | 150 | 1.008 | 0.468 |
| 213 | DISPOSITIVO XBD8.2/80GJ | 80 | 82 | 110 | 3000 | 150 | 1.148 | 0.533 |
| 214 | XBD9.0/80GJ-SEAD | 80 | 90 | 110 | 3000 | 150 | 1.260 | 0.585 |
| 215 | DISPOSITIVO XBD10.0/80GJ | 80 | 100 | 132 | 3000 | 150 | 1.400 | 0.650 |
| 216 | XBD13.0/80GJ-SEAD | 80 | 130 | 160 | 3000 | 150 | 1.820 | 0.845 |
| 217 | DISPOSITIVO XBD15.0/80GJ | 80 | 150 | 200 | 3000 | 150 | 2.100 | 0.975 |
| 218 | XBD3.0/90GJ-SEAD | 90 | 30 | 55 | 3000 | 200 | 0.420 | 0.195 |
| 219 | XBD4.0/90GJ-SEAD | 90 | 40 | 75 | 3000 | 200 | 0.560 | 0.260 |
| 220 | XBD5.0/90GJ-SEAD | 90 | 50 | 75 | 3000 | 200 | 0.700 | 0.325 |
| 221 | XBD6.0/90GJ-SEAD | 90 | 60 | 90 | 3000 | 200 | 0.840 | 0.390 |
| 222 | XBD7.0/90GJ-SEAD | 90 | 70 | 110 | 3000 | 200 | 0.980 | 0.455 |
| Número | Tipo | Caudal nominal (L/T) |
Esfuerzo (metro) |
Fuerza (kW) |
Velocidad (r/min) |
Calibre (mm) |
Presión máxima de trabajo (≤Mpa) |
150% de la presión de flujo nominal (≥Mpa) |
| 223 | XBD8.0/90GJ-SEAD | 90 | 80 | 110 | 3000 | 200 | 1.120 | 0.520 |
| 224 | DISPOSITIVO XBD9.0/90GJ | 90 | 90 | 132 | 3000 | 200 | 1.260 | 0.585 |
| 225 | DISPOSITIVO XBD10.2/90GJ | 90 | 102 | 160 | 3000 | 200 | 1.428 | 0.663 |
| 226 | XBD12.0/90GJ-SEAD | 90 | 120 | 200 | 3000 | 200 | 1.680 | 0.780 |
| 227 | XBD3.0/100GJ-SEAD | 100 | 30 | 55 | 3000 | 200 | 0.420 | 0.195 |
| 228 | XBD4.0/100GJ-SEAD | 100 | 40 | 75 | 3000 | 200 | 0.560 | 0.280 |
| 229 | XBD5.0/100GJ-SEAD | 100 | 50 | 75 | 3000 | 200 | 0.700 | 0.325 |
| 230 | DISPOSITIVO XBD6.0/100GJ | 100 | 60 | 90 | 3000 | 200 | 0.840 | 0.390 |
| 231 | XBD7.0/100GJ-SEAD | 100 | 70 | 110 | 3000 | 200 | 0.980 | 0.455 |
| 232 | DISPOSITIVO XBD8.0/100GJ | 100 | 80 | 132 | 3000 | 200 | 1.120 | 0.520 |
| 233 | DISPOSITIVO XBD9.0/100GJ | 100 | 90 | 160 | 3000 | 200 | 1.260 | 0.585 |
| 234 | XBD9.8/100GJ-SEAD | 100 | 98 | 200 | 3000 | 200 | 1.372 | 0.637 |
| 235 | XBD3.0/110GJ-SEAD | 100 | 30 | 55 | 3000 | 200 | 0.420 | 0.195 |
| 236 | XBD4.0/110GJ-SEAD | 110 | 40 | 75 | 3000 | 200 | 0.560 | 0.260 |
| 237 | XBD5.0/110GJ-SEAD | 110 | 50 | 90 | 3000 | 200 | 0.700 | 0.325 |
| 238 | XBD6.0/110GJ-SEAD | 110 | 60 | 110 | 3000 | 200 | 0.840 | 0.390 |
| 239 | XBD7.0/110GJ-SEAD | 110 | 70 | 132 | 3000 | 200 | 0.980 | 0.455 |
| 240 | XBD8.0/110GJ-SEAD | 110 | 80 | 160 | 3000 | 200 | 1.120 | 0.520 |
| 241 | XBD9.0/110GJ-SEAD | 110 | 90 | 160 | 3000 | 200 | 1.260 | 0.585 |
| 242 | XBD10.0/110GJ-SEAD | 110 | 100 | 200 | 3000 | 200 | 1.400 | 0.650 |
| № | TAMAÑO DE MONTAJE | ÁNGULO | SÓTANO | ||||||||||||||
| H | A | E | L1 | L2 | B | C | 4-Φd1 | D | D1 | DN | n-Φd | C1 | B1 | B2 | T | 4-d2 | |
| 1-5L/S | el agua es profunda | 110 | Φ220 | 225 | 175 | 275 | 350 | 4-Φ22 | 165 | 125 | 50 | 4-Φ18 | 600 | 275 | f280 | 300 | 4-Φ50 |
| 10-15L/S | el agua es profunda | 125 | Φ260 | 260 | 200 | 280 | 400 | 4-Φ22 | 200 | 160 | 80 | 4-Φ18 | 600 | 280 | Φ280 | 300 | 4-Φ50 |
| 20-15L/S | el agua es profunda | 125 | φ260 | 260 | 200 | 280 | 400 | 4-Φ22 | 220 | 180 | 100 | 8-Φ18 | 600 | 280 | Φ280 | 300 | 4-Φ50 |
| 40-80L/S | el agua es profunda | 180 | f305 | 310 | 223 | 310 | 450 | 4-Φ22 | 285 | 240 | 150 | 8-Φ22 | 700 | 310 | Φ310 | 300 | 4-Φ50 |
| 90-110L/S | el agua es profunda | 250 | F305 | 380 | 255 | 360 | 510 | 4-Φ22 | 340 | 295 | 200 | 12-Φ22 | 800 | 360 | Φ330 | 300 | 4-Φ50 |